CAS94257C 展开全部
产品概述
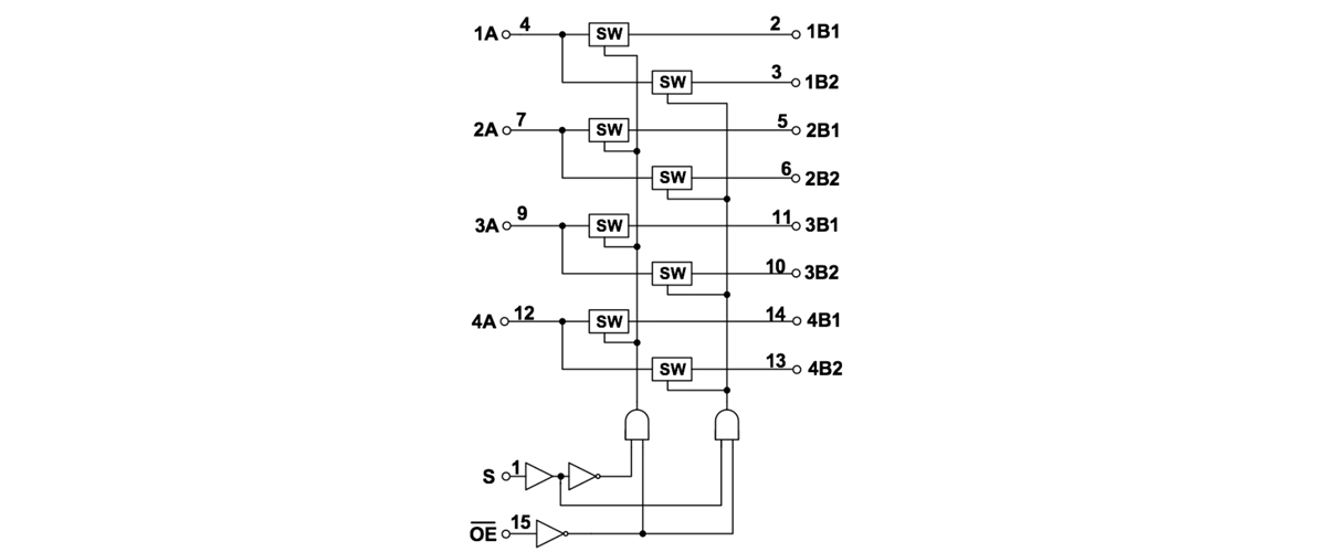
CAS94257C器件是一个4位2选1高速FET多路复用器/多路分解器。开关的低导通状态电阻允许以最小的传播延迟进行连接。非常适用于物联网设备、工业自动化和电信设备。
产品特性
  • 数据I/O端口上的轨对轨切换

  • Ioff支持部分掉电模式操作

  • 闩锁性能超过100 mA每JESD 78,II级

  • ESD保护超过JESD 22

  • –2000-V人体模型(A114-A)

  • –200-V机器型号(A115-A)

典型应用
功能框图
封装

SOP-16

TSSOP-16

QFN4x3.5-16

技术文档
样片及订购

Order PN

Green(1)

Package

Marking ID(2)

Packing

MPQ

Operation Temperature

CAS94257CMR

Halogen free

SOP-16

94257C
YWWAXX

Tape & Reel

4,000

-40oC~+125oC

CAS94257CMTR

Halogen free

TSSOP-16

94257C
YWWAXX

Tape & Reel

4,000

-40oC~+125oC

CAS94257CQNR

Halogen free

QFN4x3.5-16

94257C
YWWAXX

Tape & Reel

5,000

-40oC~+125oC

版权所有 ©Sensylink有限公司2024 沪ICP备17014742号-1 | 隐私策略
版权所有 ©Sensylink有限公司2024
沪ICP备17014742号-1 | 隐私策略